Product Summary
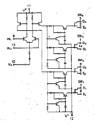
The DG164AP is an analog switch and multiplexer. The DG164AP includes four and five channel switching capability. Each channel is composed of a composed of a driver and a MOSFET switch. Two driver versions are supplied for inverting and non-inverting applications. A MOSFET, used as a current source provides an active pull-up for faster switching.
Parametrics
DG164AP absolute maximum ratings: (1)Collector to Emitter: 33V; (2)Collector to Pull-up: 33V; (3)Drain to Emitter: 32V; (4)Source to Emitter: 32V; (5)Drain to Source: 28V; (6)Source to Drain: 28V; (7)Logic to Emitter: 33V; (8)Reference to Emitter: 31V; (9)Reference to Input: 6V; (10)Logic to input: ±6V; (11)Input to Emitter: 33V; (12)Current: 30mA; (13)Storage Temperature: -65℃ to +150℃; (14)Operating Temperature: -55℃ to +125℃; (15)Dissipation: 750mW; (16)Lead Temperature soldering 10 Sec: 300℃.
Features
DG164AP features: (1) Available with and without programmable constant current pull-up; (2) Zener Protection on all gates; (3)P-channel Enhancement-Type MOSFET switches; (4)Each switch Summed to one Common Point.
Diagrams

(Singapore)






