Product Summary
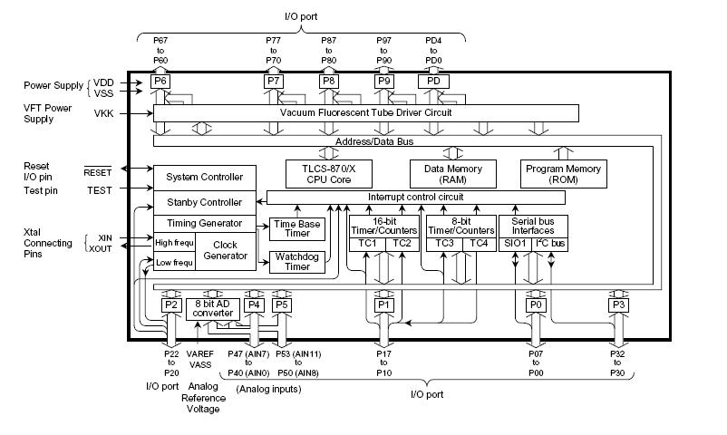
The TMP88CU74F-1B22 is a high speed and high performance 8-bit single chip microcomputer. These MCU contain 8-bits AD conversion inputs and a VFT driver on a chip.
Parametrics
TMP88CU74F-1B22 absolute maximum ratings: (1)Supply Voltage VDD: -0.3V to 6.5V; (2)Input Voltage VIN: -0.3V to VDD + 0.3V; (3)Output Voltage VOUT1 P2, P3 (at open-drain): -0.3V to VDD +0.3V; (4)Output Voltage VOUT2 P6, P7, P8, P9, PD: VDD-40 to VDD + 0.3V; (5)Output Current IOUT1 P0, P1, P2, P3, P4, P5 Ports: 3.2mA; (6)Output Current IOUT2 P6, P7, P8, P9, PD Ports: -25mA; (7)Power Dissipation (Topr = 25℃): 1200mW; (8)Soldering Temperature (time) Tsld 260℃ (10s); (9)Storage Temperature Tstg: -55℃ to + 125℃; (10)Operating Temperature Topr: -30℃ to + 70℃.
Features
TMP88CU74F-1B22 features: (1)8-bit single chip microcomputer TLCS-870/X series; (2)Instruction execution time: 0.32μs(at 12.5MHz); 122μs (at 32.768MHz); (3)842 basic instructions; (4)General-purpose register: 16 banks; (5)15 interrupt sources; (6)Input/Output ports (71Pins); (7)16-bits timer/counters: 2 channels; (8)8-bits timer/counters: 2 channels; (9)Time base timer; (10)Divider output function; (11)Wide operating voltage: 2.7 to 5.5V at 32.8MHz, 4.5 to 5.5V at 12.5MHz/32.8MHz.
Diagrams

![]() |
![]() TMP8049PI-6 |
![]() Other |
![]() |
![]() Data Sheet |
![]() Negotiable |
|
||||||||||||
![]() |
![]() TMP814PWR |
![]() Texas Instruments |
![]() Motor / Motion / Ignition Controllers & Drivers Fan Motor Pre-Driver |
![]() Data Sheet |
![]()
|
|
||||||||||||
![]() |
![]() TMP815PWR |
![]() Texas Instruments |
![]() Motor / Motion / Ignition Controllers & Drivers Sgl-Ph Full-Wave Fan-Motor Pre-Driver |
![]() Data Sheet |
![]()
|
|
||||||||||||
![]() |
![]() TMP816PWR |
![]() Texas Instruments |
![]() Motor / Motion / Ignition Controllers & Drivers Sgl-Ph Full-Wave Fan-Motor Pre-Driver |
![]() Data Sheet |
![]()
|
|
||||||||||||
![]() |
![]() TMP821DR |
![]() Texas Instruments |
![]() Motor / Motion / Ignition Controllers & Drivers Two-Phase Half-Wave Motor Predriver |
![]() Data Sheet |
![]()
|
|
||||||||||||
![]() |
![]() TMP821DRG4 |
![]() Texas Instruments |
![]() Motor / Motion / Ignition Controllers & Drivers Two-Phase Half-Wave Motor Predriver |
![]() Data Sheet |
![]()
|
|
||||||||||||
(Singapore)









